Основная проблема практически всех преобразователей 12/220 – относительно высокая частота преобразования, не позволяющая подключать потребители, рассчитанные на частоту 50 Гц. Конечно, большинству электронной аппаратуры на частоту наплевать, поскольку блоки питания у них импульсные и на входе стоит диодный выпрямитель, но как быть с обычной дрелью или приборами, блоки питания которых собраны на старых добрых пятидесятигерцовых трансформаторах?
Приведенная ниже схема преобразователя достаточно проста, не содержит дефицитных деталей и позволяет получить напряжение 220 В с частотой 50 Гц и формой, близкой к синусоидальной. Хотя чистой синусоиды, конечно, нет, электродвигатели и трансформаторы бытовой аппаратуры работают с такой формой вполне удовлетворительно. Рассмотрим схему преобразователя:

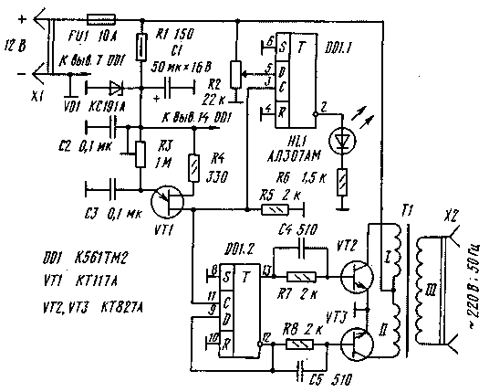
Задающий генератор на однопереходном транзисторе VT1, который питается через простейший параметрический стабилизатор на стабилитроне VD1, генерирует импульсы с частотой 100 Гц. Точная подстройка частоты генерации производится резистором R3. Далее сигнал поступает на элемент DD1.2, включенный по схеме делителя на 2. Триггер микросхемы имеет прямой и инверсный выход, таким образом, мы получаем на выходе DD1.2 два противофазных сигнала с частотой 50 Гц. Следующий узел – два ключа VT2, VT3, нагрузкой которых является повышающий трансформатор Т1.
Ключи, управляемые противофазными сигналами с выводов 12, 13 DD1.2, работают поочередно. Конденсаторы С4 и С5 облегчают режим работы мощных транзисторов, ускоряя процесс их переключения. Еще один узел, собранный на элементе DD1.1 – система контроля состояния аккумуляторной батареи. Пока напряжение на батарее в норме, на входе D триггера напряжение логической единицы. При разрядке батареи, напряжение на выходе делителя R2 падает и триггер по импульсу задающего генератора переключается, зажигая индикаторный светодиод HL1 «Аккумулятор разряжен».
Наладка преобразователя не сложна: отключаем плюс источника питания от трансформатора Т1 и включаем устройство. Далее пользуясь осциллографом, проверяем частоту генерации на входе 11 микросхемы. При помощи подстроечного резистора R3 выставляем ее равной 100 Гц. При этом на базах обоих ключевых транзисторов амплитуда импульсов должна быть порядка 2 В.
Теперь очередь узла контроля разрядки аккумуляторной батареи. Снижаем напряжение на входе до 10.5В и подстройкой резистора R2 добиваемся надежного зажигания светодиода HL1. Восстанавливаем соединение «+» аккумулятора – Т1 и проверяем наличие 220В на повышающей обмотке трансформатора. Ток холостого хода устройства должен быть в пределах 1А, напряжение под нагрузкой 100Вт – не ниже 210 В.
В устройстве применены конденсаторы КМ-5 (С2-С5), К53-1 (С1), конденсатор С2 подключен непосредственно к выводам питания D1. Трансформатор Т1 имеет следующие намоточные данные: I и II обмотки – 15 витков, провод ПСД-2 или ПБД-2, III обмотка – 705 витков, провод ПЭВ-2 0.64. Магнитопровод ПЛМ 27-40-58.
Транзисторы VT2 и VT3 можно заменить любыми серии КТ827 с максимальным коэффициентом передачи. Каждый устанавливается на теплоотвод площадью 300 см2. Стабилитрон VD1 – любой на напряжение стабилизации 8-9В. Монтаж устройства произвольный.
Статьи ►
Мультиплексоры ТТЛ серии