Основные электрические характеристики германиевых n-p-n транзисторов малой мощности
|
Тип
|
Iк max, мА
|
Uкэ max, В
|
Pк max, мВт
|
h21э
|
fгр, МГц
|
| МП37А |
20 |
30 |
150 |
15…30 |
1 |
| МП37Б |
20 |
30 |
150 |
25…50 |
1 |
| МП38 |
20 |
15 |
150 |
25…55 |
2 |
| МП38А |
20 |
15 |
150 |
45…100 |
2 |
Основные электрические характеристики германиевых p-n-p транзисторов малой мощности
|
Тип
|
Iк max, мА
|
Uкэ max, В
|
Pк max, мВт
|
h21э
|
fгр, МГц
|
| MП25A |
150 |
40 |
200 |
20…50 |
0.25 |
| МП25Б |
150 |
40 |
200 |
30…80 |
0.5 |
| MП26 |
150 |
70 |
200 |
10…25 |
0.25 |
| МП26А |
150 |
70 |
200 |
20…50 |
0.25 |
| МП26Б |
150 |
70 |
200 |
30…80 |
0.5 |
| MП42 |
100 |
15 |
200 |
20…35 |
1 |
| MП42A |
100 |
15 |
200 |
30…50 |
1 |
| МП42Б |
100 |
15 |
200 |
45…100 |
1 |

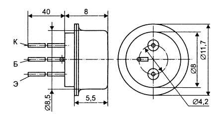
Цоколевка транзисторов МП25 – МП42
Статьи ►
Гибкие люминесцентные источники света ЭМП, ЭМЛ